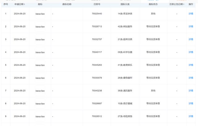
上海米哈遊璃月科技繼星布谷地後 在6/20與7月初註冊的新商標 名為:ASTAWEAVE HAVEN https://i.imgur.com/vov1lJF.png
9跟41類裡面都有遊戲與軟體服務說明 透過電腦網路線上提供的遊戲服務(4105) 電子出版品(可下載)(0901) 可下載的電腦應用軟體(0901) 電腦週邊設備(0901) 可下載的電腦遊戲軟體(0901) 國外的商標註冊 (我直接用網頁翻譯的中文,譯名酒店什麼的不要在意XD) https://i.imgur.com/ELPM6Ad.png
疑似是近期米哈遊新增的社會招聘H項目 (應該直接是HAVEN項目,雖然我也希望是HGAME) https://i.imgur.com/mTB8W5L.png
所以應該是繼"星布谷地"後 規劃的新遊戲項目!!?? -- ※ 發信站: 批踢踢實業坊(pttbestweb.org.tw), 來自: 1.161.67.186 (臺灣) ※ 文章網址: https://pttbestweb.org.tw/miHoYo/M.1721180018.A.137
Louta: 這種文也需要掛內鬼的嗎 07/17 09:35
aa08175: 不需要掛內鬼吧? 這還是公開資訊 07/17 09:37
GrimmNotes: 這跟內鬼有啥關係 ...USPTO 的公開訊息 公眾能檢視的 07/17 09:37
gn00011111: 好 我改一下 07/17 09:37
libertier: H H遊戲的意思嗎 >////< 07/17 09:38
AntiEntropy: 這不算內鬼吧,又不是非官方爆料 07/17 09:38
eric1389: H 好色 07/17 09:38
cloud7515: 酒店 所以是H遊戲囉 07/17 09:40
harunoneko: 好色喔 07/17 09:42
HShine: 色圖總不用刷聖遺物隨機詞條了吧 07/17 09:46
pan46: H遊戲可以不要抽卡買斷 或者跟DOA一樣好嗎= = 07/17 09:47
pan46: 改買斷* 07/17 09:47
xzero0911: H項目 米終於要瑟瑟了嗎(X 07/17 09:49
hupshahu: H項目 07/17 09:49
MushT: H簡寫的遊戲,簡稱Hgame 07/17 10:11
k1k1832002: 也有可能跟ZZZ一樣只是中英文商標申請也難說,不過目 07/17 10:20
k1k1832002: 前B站都掛帳號了,H項目也沒有轉正稱星布谷地也還有 07/17 10:20
k1k1832002: 的猜,但也有可能正式公布後才轉名 07/17 10:20